The Power of Query Fan-Out in AI Search: Revolutionizing Search Engines with Generative Intent
The Query Fan-Out technique is transforming how AI-powered search engines respond to complex queries. Tools like AI Mode and AI Overviews in Google Search use this method to run multiple, parallel searches across various sources, delivering more comprehensive and accurate answers.
This approach is directly tied to key Google patents in AI search technologies. “Generative Summaries for Search Results” (Patent US11769017) and “Systems and Methods for Prompt-Based Query Generation” (Patent WO2024064249A1) lay the foundation for the Query Fan-Out technique.
These patents explain how AI search engines leverage this technique to blend Generative Intent to provide personalized and relevant results by merging traditional search intent with deeper user context.
In this article, we will break down the Query Fan-Out technique, its role in AI-driven search, and how it is impacting SEO strategies and content creation. We will also explore the patents behind these technologies and share how businesses can apply these innovations to stay ahead in AI-powered search.
What is the Query Fan-Out Technique?
Query Fan-Out is a technique used by AI-powered search engines to handle complex queries. Instead of just running a single search, the system issues multiple, related queries at once. This allows it to gather insights from different sources and combine them into one, comprehensive response.
The result is an answer that’s both complete and accurate, addressing all aspects of the user’s query. Query Fan-Out improves search results by running multiple, parallel queries to address different aspects of a user’s question.
For example, if a user asks, “What are the best running shoes for flat feet in wet conditions?” Query Fan-Out could run multiple queries like:
- “Best running shoes for flat feet”
- “Running shoes for wet weather”
- “Reviews of waterproof running shoes”
The results from these parallel queries are then combined into one detailed, relevant answer. This method ensures the answer is more than just a list of links – it’s a complete response that fully addresses the user’s needs.

This method is especially powerful when combined with Generative Intent. Generative Intent considers the search terms and the broader goal behind the query. This lets the AI deliver results that are accurate, complete, and tailored to the user’s needs.
How Query Fan-Out Enhances AI Mode and AI Overviews for Personalized Search Results
AI Mode and AI Overviews are two features in Google Search that leverage Query Fan-Out to deliver better, more personalized answers. These tools enhance the search experience using Generative Intent – a method that tailors responses based on both the user’s query and their broader context.
Query Fan-Out is the technique that powers these tools by running multiple searches simultaneously, pulling results from different sources and combining them into one comprehensive answer.
AI Mode: Deep, Multifaceted Search
AI Mode uses Query Fan-Out to break down complex queries into smaller, related searches. Instead of providing a simple list of results, AI Mode creates a rich, multi-dimensional response by gathering insights from various subtopics. For example:
- A user asks, “How can I improve my home’s energy efficiency in winter?”
- AI Mode runs separate queries like “home insulation tips for winter,” “best winter heating solutions,” and “energy-efficient windows for cold climates.”
- The results from each query are gathered and combined into a detailed, cohesive response.
By running these sub-queries in parallel, AI Mode gives users a response that addresses different facets of their question, providing a clearer and more complete answer.
AI Overviews: Speed and Simplicity
AI Overviews provide a quick and clear summary of a topic. Designed for users who need a concise answer to complex questions, AI Overviews use Query Fan-Out to gather key information from several sources. They create a quick snapshot that answers the user’s question and provides links to more detailed resources.
For example:
- A user searches, “What are the effects of climate change on agriculture?”
- AI Overviews will pull together a short summary with the most relevant findings and provide links for users to dive deeper into the subject.
This method ensures that users get quick, useful answers while also allowing them to explore further if needed.
Benefits of Query Fan-Out in AI Search
The real power of Query Fan-Out is its ability to create responses that are both accurate and contextually aware. By running multiple searches at once, AI Mode and AI Overviews offer results that are more comprehensive and relevant. This technique delivers:
- More accurate answers: Addressing multiple facets of a query ensures a thorough response.
- Increased relevance: By focusing on the user’s full intent, these AI features provide tailored content.
- Better user experience: With AI Mode and AI Overviews, users don’t have to sift through endless links. They receive refined answers in one place, saving time and effort.
Query Fan-Out is the key to delivering a richer, more personalized search experience that aligns with Generative Intent, offering users the answers they need without the hassle of digging through multiple sources.
How Generative AI and Generative Intent Are Shaping the Future of Search
Generative AI is fundamentally changing how search engines respond to user queries. Moving beyond keyword matching, it now understands the user’s full query and context. It creates answers tailored to specific needs and delivering personalized, relevant results.
At its core is Generative Intent. This concept blends search intent – the specific query the user is asking – with a deeper understanding of their broader context.
For example, when someone asks, “What is the best energy-efficient home insulation for winter?” AI can go beyond the search terms to consider the user’s goal: finding ways to save on heating costs while keeping their home warm. This lets the system generate a more relevant, actionable response.
How Query Fan-Out and Generative Intent Work Together
Query Fan-Out gathers insights from various perspectives by running multiple, related queries in parallel. The AI then uses these insights to create a response that answers the user’s query in full.
Generative Intent ensures the AI understands the user’s deeper needs and not just the words in the query. Together, they allow the AI to offer more comprehensive and personalized answers.
How Generative AI Powers Personalized Responses
Generative AI creates personalized, relevant content by using Query Fan-Out to gather insights from multiple perspectives. Here’s how this works:
- Understanding the user’s context: AI doesn’t just analyze the words in a query. It also considers the user’s past searches, preferences, and location to understand their needs.
- Running multiple related queries: Query Fan-Out breaks down the query into smaller sub-queries, running them in parallel to gather comprehensive results.
- Delivering actionable answers: The AI then combines the results into a personalized response that directly addresses the user’s intent.
This combination of Generative AI and Query Fan-Out allows search engines to deliver answers that feel like personalized conversations, rather than simply listing links.
The Benefits of Generative AI and Generative Intent for Search
The shift towards Generative AI and Generative Intent offers several key benefits:
- For users: More relevant, context-driven answers that save time and provide clarity.
- For content creators: A chance to align content with deeper user intent, leading to better engagement and visibility.
- For businesses: A competitive advantage in SEO by producing content that AI is more likely to reference in response to relevant queries.
The Future of Generative AI in Search
As Generative AI evolves, Query Fan-Out will play an even greater role in delivering personalized, multi-faceted responses.
Search engines will continue to refine how they use Generative Intent to better understand user needs, creating a more intuitive and dynamic search experience.
For content creators, this means aligning content strategies with Generative Intent to meet the growing demand for deeper, more personalized content.
Key Patents Behind Query Fan-Out and Their Role in AI Search Evolution
Two Google patents are essential to how Query Fan-Out works. These patents detail how AI search engines use multiple queries to improve the relevance and accuracy of their responses. They define how AI-driven search engines process and deliver more personalized, comprehensive results.
These patents lay the groundwork for tools like Google’s AI Mode and AI Overviews, enabling them to break down complex queries, issue multiple related searches in parallel, and combine the results into a single, refined answer.
Key Patents Driving Query Fan-Out
1. “Generative Summaries for Search Results” (Patent US11769017)
This patent details how AI systems refine and run multiple related queries to improve the accuracy of search results. It enables Query Fan-Out to process different types of inputs, including multimodal queries, ensuring more precise and comprehensive answers.
“At block 252, the system receives a query…The query can be a voice query, a typed query, an image-based query, a multimodal query…or an implied/parameterless query.”

By issuing multiple related queries simultaneously, the system collects information from diverse sources – such as product features, customer reviews, and expert opinions. This allows the final response to be more nuanced and complete.
“The system selects one or more query-responsive search result documents (SRDs), that are responsive to the query of block 252, for inclusion in a set. For example, the system can select, for inclusion in the set, a subset of query-responsive SRDs that the system and/or a separate search system have identified as responsive to the query.”

This process of generating multiple sub-queries and selecting the most relevant SRDs ensures that the AI’s responses are thorough and relevant.
The flowchart below illustrates how this Generative Summaries patent uses Large Language Models (LLMs) and SRDs to generate a natural language-based summary response for a specific query.

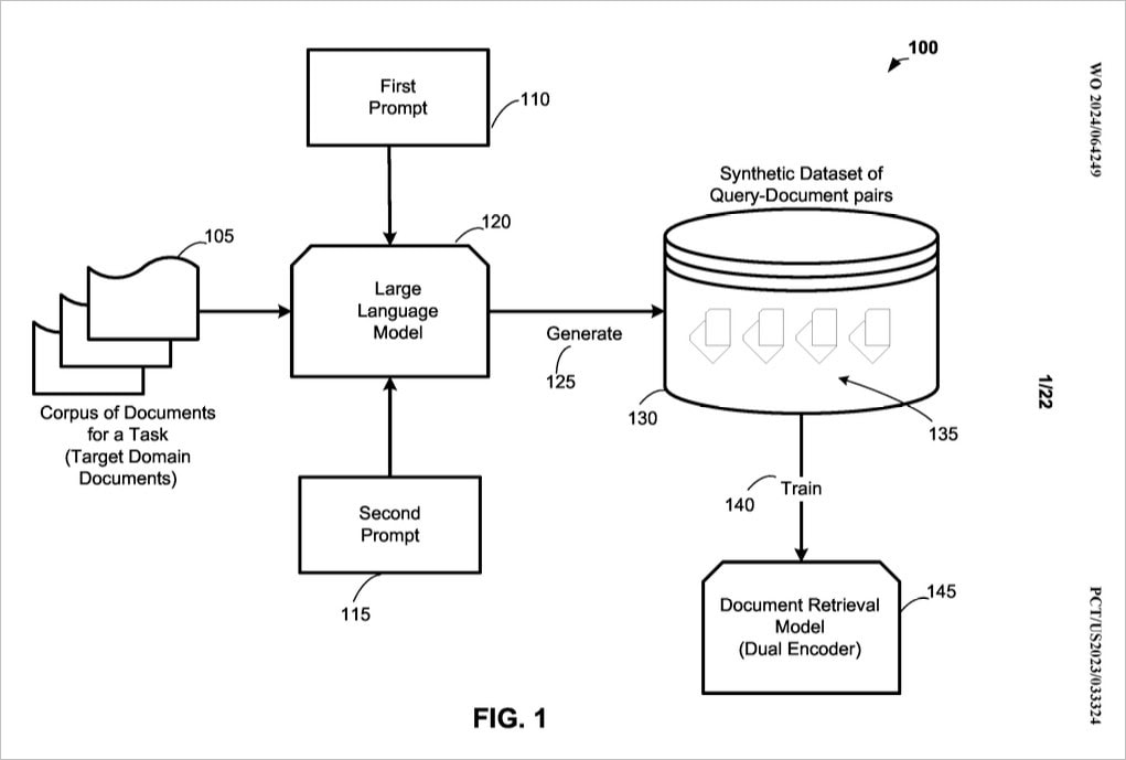
2. “Systems and Methods for Prompt-Based Query Generation” (Patent WO2024064249A1)
This patent describes how AI systems generate related sub-queries from a user’s original query, breaking it down into smaller, more focused searches. Instead of relying on a single query, the system issues multiple searches to gather different facets of information, providing a more comprehensive and tailored response.
For example, if a user asks, “What are the best energy-efficient windows?” the system may run separate searches on “best double-pane windows” or “top energy-efficient window features.” This ensures the final response is more well-rounded and tailored to the user’s needs.
Here is the flowchart of the prompt-based query generation process in the patent:

- During training, the system learns how to generate and match query-document pairs.
- Real-time search (AI Mode and AI Overviews) uses this trained knowledge to break down a user’s query and pull results, but it doesn’t generate new query pairs in real-time – it applies what was learned during training to improve search accuracy.
This method directly relates to Query Fan-Out, where a query is split into smaller sub-queries, enhancing the AI’s ability to provide more personalized, multi-faceted search results.

Why These Patents Matter for Businesses
For businesses and content creators, understanding these patents is key to staying ahead in AI-driven SEO. By creating content that aligns with the Query Fan-Out method, businesses can increase the chances of their pages being referenced by AI search engines and build topical authority.
For example, rather than focusing solely on individual keywords, businesses should develop comprehensive content that covers multiple aspects of a topic.
This could mean including detailed product features, customer reviews, and expert opinions. By doing so, content creators can ensure their pages are more likely to be cited by AI systems using Query Fan-Out, improving visibility and engagement in AI-driven search results.
Stateful Chat and Thematic Search: Understanding Their Role in AI Search
While Query Fan-Out is the core technique behind AI Mode and AI Overviews, two other patents – “Search with Stateful Chat” (Patent US20240289407A1) and “Thematic Search” (Patent US12158907) – are often referenced in similar discussions. However, these patents are not as directly related to Query Fan-Out, though they still play an important role in shaping AI search technologies.
Search with Stateful Chat (US20240289407A1)
Stateful Chat focuses on maintaining context throughout ongoing interactions. Rather than running multiple queries, it allows the AI to refine its answers by remembering previous conversations. This makes the search experience feel more like a conversation.
How it Works:
- Stateful Chat enables the AI to remember the context of past queries.
- It refines answers in real-time, adjusting based on the evolving conversation. It can help provide more personalized and dynamic responses.
While Stateful Chat helps maintain conversational flow, it does not rely on Query Fan-Out, which executes multiple parallel searches to gather broader insights.
Thematic Search (US12158907)
Thematic Search is designed to organize search results into thematic categories. It doesn’t run parallel searches like Query Fan-Out but focuses on grouping related results under a common theme.
How it Works:
- Thematic Search categorizes search results into themes after gathering them.
- It organizes results for easier navigation, helping users explore topics by category.
Example:
- A user searches for “best running shoes.”
- Thematic Search might group results into categories like “comfort,” “durability,” and “affordability.”
This approach is useful for ensuring users can easily browse relevant topics, but it doesn’t involve the parallel querying of Query Fan-Out. But Thematic Search complements it by improving the structure and usability of search results.
Preparing Your Content Strategy for AI Search Success
As AI search engines evolve, businesses need to adapt their content strategies to stay competitive. Traditional SEO strategies focused on ranking for individual keywords will need to shift towards a more user-intent-driven approach.
Query Fan-Out, Generative AI, and Generative Intent are changing how search engines process queries and deliver results. To succeed, businesses must build content that AI systems retrieve and cite, answering a broader range of user queries and aligning with how AI-driven search engines work.
Shift from Keywords to User Intent
With the rise of AI-powered search, focusing solely on individual keywords isn’t enough. Query Fan-Out enables AI to look at queries from multiple angles, running several searches in parallel to gather relevant insights. This requires businesses to create content that answers multiple questions related to a central topic.
For example:
- Instead of creating a page about ‘best running shoes’, address:
- Shoes for flat feet
- Shoes for long-distance running
- Shoes for wet weather
By addressing different needs, your content can satisfy a broader range of queries, increasing its chances of being included in AI-driven search results.
Creating Content for AI Search Engines
Since AI search engines leverage Query Fan-Out to pull from multiple sources, creating comprehensive content that answers various aspects of a topic is the key. This approach significantly increases the likelihood of your content being referenced in AI-generated responses.
Here’s how to build your content strategy:
- Identify User Intent: Understand the full scope of your audience’s needs and the broader goals. Use AI tools and analytics to discover the most common questions users have related to your industry.
- Develop Topic Clusters: Instead of standalone pages, create topic clusters that cover all aspects of a central theme. For instance, if your focus is sustainable gardening, cover subtopics like:
- Organic gardening methods
- Best eco-friendly fertilizers
- How to design a sustainable garden layout
- Include Multiple Content Formats: AI search engines pull information from various content types, including articles, videos, and customer reviews. Include a variety of formats to make your content more likely to be referenced.
- Answer the Full Range of User Questions: Since AI search engines look for comprehensive answers, make sure your content addresses related sub-queries. For example, if you’re writing about “best energy-efficient windows,” include:
- Top window insulation types
- Cost-saving tips on window installation
- Customer experiences with energy-efficient windows
Optimizing for Generative AI and Query Fan-Out
To optimize for AI search engines, businesses need to create content that’s easy for AI to process. Here’s how to help AI systems pull the most relevant information from your pages:
- Break down content into clear sections: Use headings, bullet points, and lists to make your content scannable. AI systems can pull information from these sections to build more comprehensive answers.
- Include FAQs: Answer frequently asked questions in a structured format to help AI systems extract the information.
- Write in natural language: Make sure your content is conversational and easy for AI to interpret.
Monitor and Adapt Your Strategy
As AI search engines evolve, so should your content strategy. Here are some ways to stay ahead:
- Track performance: Monitor how your content is performing in AI-driven search engines. Look at engagement metrics like click-through rates, bounce rates, and conversion rates.
- Stay flexible: Be prepared to adjust your strategy as AI continues to evolve. Test new approaches and adapt to changes in how AI interprets search queries.
- Follow emerging trends: Stay updated on AI search technologies and patents to ensure your content stays relevant.
The shift to AI-powered search requires a fundamental change in how we approach SEO. Focusing on user intent rather than individual keywords will be key.
By creating comprehensive, user-driven content aligned with Generative AI and Query Fan-Out, businesses can improve their chances of ranking well in AI-driven search results, boosting visibility and user engagement.
The Future of Query Fan-Out: Shaping the Next Generation of AI Search
Query Fan-Out plays a key role in the future of AI-driven search engines. As AI systems like Google Gemini and AI Mode continue to advance, Query Fan-Out will evolve to handle more complex queries, delivering personalized and comprehensive responses.
By running multiple queries in parallel, AI search engines will better understand user intent and provide results that address multiple aspects of a query.
Evolving AI: What’s Next for Query Fan-Out?
As Generative AI and Generative Intent advance, Query Fan-Out will adapt to process increasingly complex and nuanced user queries. Future AI search engines will consider more user-specific data – such as past searches, preferences, and real-time interactions – allowing the system to respond more dynamically and intelligently.
For example, imagine a user asking for “best energy-efficient home improvements.” Instead of simply showing results for insulation and windows, AI might include smart thermostats, eco-friendly appliances, and green energy sources, tailored based on past behavior.
Long-Term Impact on SEO: What Does This Mean for Businesses?
As AI search engines evolve, SEO strategies will need to shift. Generative AI and Generative Intent will reshape SEO in fundamental ways:
- Content Creation: Businesses must create multi-dimensional content that answers a wide range of user queries, going beyond keywords to address all related aspects of a topic.
- Content Optimization: SEO will shift from targeting specific keywords to understanding user intent. Content will need to be optimized for a broader set of related queries.
- Content Ranking: As AI-driven search prioritizes contextual relevance, businesses will need to adapt by creating content that answers multiple facets of a query, improving their chances of being featured in AI-generated responses.
Query Fan-Out and the Future of AI Search
As AI search systems improve, Query Fan-Out will become more essential in processing and delivering accurate responses. Businesses that create comprehensive, intent-driven content will be better positioned to succeed in this evolving search landscape.
By aligning content strategies with Generative AI and Generative Intent, businesses can stay ahead of the competition and ensure that their content is discovered in AI-driven search results.
Staying Ahead: How Query Fan-Out is Revolutionizing SEO and Content Strategy
Query Fan-Out is at the heart of AI-driven search. This technique enables search engines to run multiple related queries in parallel, and will become even more important as AI search engines continue to evolve. It will deliver richer, more nuanced responses that align with user intent.”
For businesses, this means rethinking traditional SEO strategies. It’s no longer enough to focus on individual keywords. Businesses must create comprehensive content that addresses multiple user queries and aligns with Generative AI and Generative Intent.
This approach will significantly improve visibility, engage users more effectively, and ensure competitiveness in an increasingly AI-powered search world.
The future of search is here, and those who adapt to these changes early will be best positioned to succeed. Embrace Query Fan-Out, Generative Intent, and AI-driven SEO to stay competitive in the rapidly evolving search landscape.
Future-Proof Your Content Strategy for AI Search with Floyi
As AI search engines become more sophisticated, businesses must adapt their content strategies to stay competitive. Floyi helps you create AI-optimized content that aligns with the latest search engine advancements, including Query Fan-Out and Generative AI.
With Floyi, you can:
- Build AI-friendly topical maps that cover multiple aspects of a topic, ensuring comprehensive and relevant content.
- Generate actionable content briefs that align with search and user intent, improving your chances of ranking in AI-driven search results.
- Refine your internal linking strategies to ensure AI systems can easily find and reference your most important content.
Start optimizing your content for the future of AI search with Floyi, and stay ahead of the competition by creating personalized, relevant content that AI systems love to reference.